Abductiezitbroek
Deze fixatie zorgt voor abductie van de benen en voorkomt het naar voren schuiven van de gebruiker.
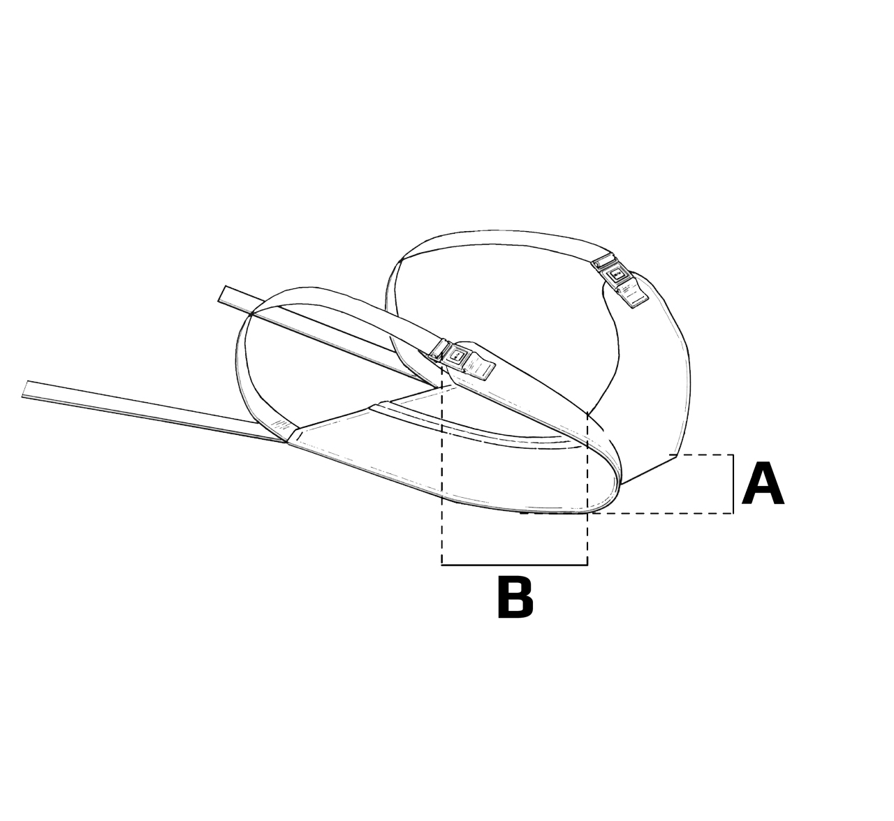
Varianten en maatgegevens
| Maat 0 | Maat 1 | Maat 2 | Maat 3 | |
|---|---|---|---|---|
| Artikelnummer | 89108-0 | 89108-1 | 89108-2 | 89108-3 |
| Afmetingen (tekening) | A:170 x B:190 mm | A:220 x B:250 mm | A:270 x B:250 mm | A:340 x B:320 mm |
Documenten
Het downloaden van gebruikershandleidingen is alleen bedoeld als aanvulling op de meegeleverde geprinte versie. De producten waarnaar wordt verwezen kunnen zonder voorafgaande kennisgeving worden gewijzigd en de lezer wordt geadviseerd om te zorgen voor samenhang met de productversie en het artikelnummer, evenals de juiste vertaling.